Table of Contents Next Page


CHAPTER I: IMPORTANCE OF OLIVE PRODUCTION AND OLIVE TREE BY-PRODUCTS

1.1 Olive production

Although olive tree production is distributed over all five continents (see Table 1), it prevails especially in the Mediterranean Basin which represents 98 percent of the production area and trees and 97 percent of all olive production.

The four countries (Spain, Greece, Italy and Tunisia) examined in this study represent by themselves:

On a world scale the importance of olive production can be summed up by the following four figures (rounded out):

Table 2: Size of world olive production
- total area:7 000 000 ha
- trees in production:600 000 000
- olives produced:8 400 000 tons
- oil produced:1 600 000 tons

Olive cultivation has a social character, since it employs abundant labour and involves many small producers. On the other hand, production is seasonal which has repercussions on job conditions and the availability of by-products.

1.2 Olive composition

The olive is a drupe; its physical composition is shown in Fig. 1

Figure 1: The olive: (a) cross-section and (b) physical composition

Figure 1

a) from Maymone et al, 1961
b) Nefzaoui, 1983

Table 1: Importance of olive production in the main producer countries
CountryPlantations (1)Production (2)
Area ( 1 000 ha)Plants in production (x 1 000)Density (plants/ha)Olives (1 000 T)Oil (1 000 T)
Europe     
Albania201 50075537
France303 800130162
Greece42079 0001901 350280
Italy1 200160 0001332 800566
Portugal48026 0005422033
Spain2 300180 000781 348281
Yugoslavia604 70078132
Africa     
Algeria12510 0008010011
Egypt21005060.5
Libya1544 0002616216
Morocco1406 7004835038
Tunisia60037 00062700140
Asia     
Turkey1 20059 00049650107
Other13714 00010239568
America12212 80010521429.7
Australia-40-60.6
TOTAL6 990598 740868 3831 581.8

Sources:
(1) From Fertimont, “Mondo Economico” No. 3, 23 January 1983
(2) From FAO: Statistics Series No. 40, 1982

1.3 Oil manufacture

The technology used is very varied and has been modified considerably during recent decades. As an example, two methods are described below:

and the percentages of oil and by-products obtained (olive cakes and vegetation waters) are given.

There are also other procedures such as the Acapulco method which consists of previously separating the stone from the pulp.

1.4 Main by-products

1.4.1 Definitions

It is important to define the different by-products since there is some confusion in the publications which makes it sometimes difficult to identify clearly the particular by-products concerned. The following definitions are therefore given:

  1. Oil extraction by-products

  2. Pruning and harvest residues

    Olive trees are usually subjected to severe pruning every second year and light pruning in the alternate year. After separation of the large branches, the leaves and twigs (less than 3 cm in diameter) can be distributed to ruminants.

1.4.2 Estimated quantities of olive by-products

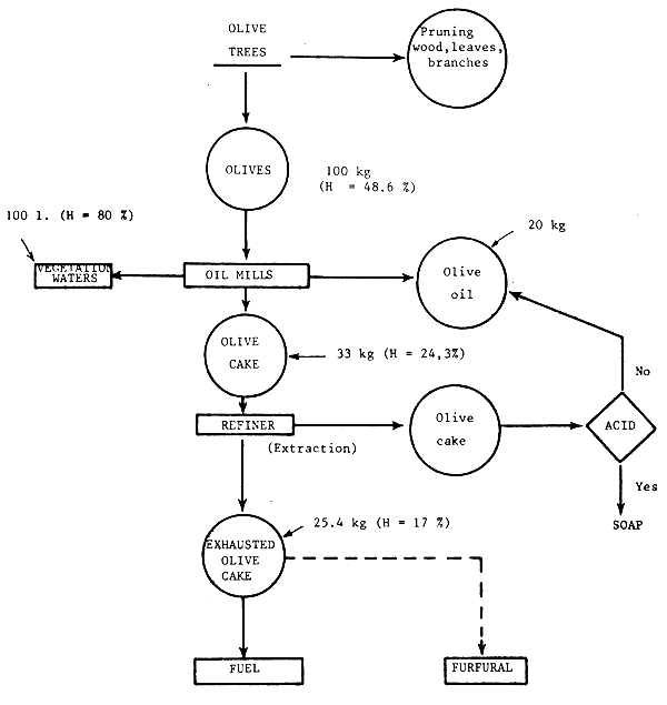
The quantities can vary according to the manufacturing process. Average estimated values are summarized in Figure 4. Taking 35 percent as the average value for proportion of crude olive cake to processed olives, world crude olive cake production can be estimated at about 2 900 000 tons.

Figure 2

Figure 2. Diagram of the present olive oil industry in Tunisia

Source: Nefzaoui, 1983

Figure 3

Figure 3. Pieralisi oil extraction mill in lazio (Italy): olive processing by centrifugal separation

Source: Martilotti, 1983

Figure 4: Method of obtaining different types of olive cake and physical composition (Feretti method)

MethodRatioBy-productsPhysical Composition %
 100 kgOLIVEwater : 48.6
   oil : 27
Pressing  dried stones : 14.1
   kernels : 1.3
   mesocarp+
   epicarp : 9
 33 kg(1)CRUDE OLIVE CAKEwater : 24,3
 (33%) oil : 9.1
Solvent extraction  dried stones : 42.4
   kernels : 3
 16.7 kg(2)SCREENED OLIVE CAKEwater : 37.7
 (50.5%) oil : 16.8
Screening-Ventilation  dried stones : 5.6
   dried kernels : 5.6
   mesocarp +
   epicarp : 39.9
 7.41(3)EXHAUSTED SCREENEDwater : 4.5
 (44%)OLIVE CAKE 
   oil : 4.2
   dried stones : -
   dried kernels : 11.1
   mesocarp +
   epicarp : 80.2

Source: Adapted from Feretti and Scalabre, 1978
(1) Part of the mesocarp and the epicarp are lost in vegetation waters.
(2) Screening losses as dust, about 5 percent.
(3) On emerging from extraction olive cake contains about 17 percent water and is dehydra-ted again.

N.B. When crude olive cake is defatted without being destoned, the exhausted olive cake then represents about 77 percent of crude olive cake and has the following composition: water, 15%; oil, 4%; shells, 55%, pulp, 26%.

Source: Office National de l'Huile (National Oil Bureau), Tunisia.

The percentage of crude olive cake treated by solvents to extract the oil from the cake varies widely according to the country, reaching 80 percent in Greece and Tunisia. There is a marked tendency to increase the quantity of olive cake subjected to oil extraction by solvents.

Exhausted olive cake partly destoned by screening or ventilation is not widespread at present. After destoning, it represents about 44 percent of the original exhausted olive cake. Several studies have been undertaken for its valorization, especially in Tunisia, but have not been developed on an industrial scale.

The vegetation waters eliminated constitute a large quantity of polluting effluents and most countries are now concerned by this pollution problem. In pressure extraction methods about 100 litres of vegetation water are obtained per 100 kg of olives processed.

Concerning olive tree leaves and twigs, Nefzaoui (1983) made the following estimates of quantities produced (Table 3):

Table 3: Quantities of wood, leaves and twigs obtained according to age of olive tree and type of pruning
Age of treePruning typeTotal quantity of wood kg/treeLeaves and twigs %Quantity of leaves and twigs kg/tree
younglight---
severe306018
adultlight505025
severe1003030
oldlight---
severe1001212

Recent research by Vera y Vega and Galan Redondo (1978), Civantos (1981 b and 1982) and Parellada et al (1982) have attemped to estimate olive tree branch and leaf production in different conditions in Spain. Yields vary widely from 10 to 25 kg and can reach as much as 45 kg for olive trees in favourable cultivation conditions. Weighted average per tree is probably about 22 kg of twigs according to Parellada and Gomez-Cabrera (1983). These estimates agree on the whole with those of Nefzaoui (see Table 3).


Top of Page Next Page