The determination of plant efficiency at all essential points of the process is the first step in creating a preventive maintenance system which is fundamental to achieving optimal performance in any milk plant.
The precise meaning of the term “preventive maintenance” depends on the concept of the organization of the plant, of its capacity and processing and manufacturing programme as well as on the availability of, and accessibility to specialized services of machinery manufacturers or their agents, who are usually equipped with an ample supply of spare parts.
According to Newcomer 1 preventive maintenance in developing countries is a procedure involving:
The obvious benefits of preventive maintenance include:
These benefits are the objectives of preventive maintenance. Although the objectives and principles of preventive maintenance programmes (PMP) are the same for any processing industry and for any plant within an industry, the actual programme of preventive maintenance procedures is an adaption of general rules to the needs of a given plant. Since there are no identical plants, there cannot be identical preventive maintenance programmes. However, the establishment of such an individual programme for any milk plant could be facilitated by giving the dairy engineer and his staff a general guide on the list of issues of which good PMP is composed, on the meaning of these issues and on the methods by which general rules can be transformed into practice. In this chapter an attempt is made to provide such a general guide.
1 Newcomer, J.L., 1969. Indian Dairyman, vo1. XXI, No. 1 to 6.
Before discussing PMP procedures in more detail, it should be emphasized that the dairy engineer's group usually forms a separate unit within the organizational structure of the milk plant. This unit may take the form of an engineering department in large-scale plants, or the form of a section in smaller enterprises, but in all well-organized milk plants it is a relatively autonomous unit. Its head has the status of a senior executive officer, similar to the position of the heads of the processing group, quality control group, or sales and procurement managers. To perform its duty the dairy engineer's group needs a programme of work, staff, and resources.
The preventive maintenance programme is the most essential part of the programme of work of the dairy engineer's group. It is divided into several parts. The first comprises collecting and recording all basic information on machines and installations: the Equipment Records of the plant. This may be classified as the preparatory part of the PMP. The second comprises identification of inspection objectives, frequency and location, and is known as the Inspection Schedule. This includes lubrication schedules, and routine spare parts replacement programmes and may be classified as the plan of operations in which also the recording and reporting systems are defined. The third part of the PMP procedure is the action which starts with the analysis of the records and is followed by decisions on what must be done, by whom, when and by what means. It also includes decisions on who inspects and accepts the completion of the action ordered. The last component of the action part of the PMP is the maintenance cost estimate.
The application of PMP depends on well-equipped workshop facilities and trained staff. The variety of skills needed for performing all the duties specified above implies that training in the dairy engineer's group is an essential requisite of success. These problems of resources and staff training are dealt with in Chapters 3 and 6.
All plant performance studies require that the rated performance parameters are known, that appropriate instruments are installed to measure those actually achieved and that both are recorded and compared. As a result of this comparison all malfunctions can be detected, the reasons for their occurrence examined and steps taken in order to re-establish proper functioning of the plant. The essential elements to introducing performance studies can be listed as follows:
All manufacturers' literature such as manuals, drawings and spare parts specifications should be collected, filed according to a selected system and kept under strict control of the engineering department of the plant.
Flow diagrams of the whole plant and its sections should be prepared with performance check points clearly indicated.
A recording and reporting system of performance inspections and studies should be introduced and strictly observed so as to make sure that action can be taken immediately after a deviation from the expected performance has occurred.
Manufacturers' literature contains essential technical data for the dairy engineer's use, but it is impracticable to use this in daily routine work. First of all it comprises bulky volumes, from which only parts are of interest for maintenance procedures. Besides it will not allow for recording all changes, major repairs, utilization of spare parts and similar entries essential in the dairy engineer's work. Therefore a method of recording basic information for each piece of equipment of the entire plant has to be adopted. Such a method, or a system, should be simple and, prior to introduction, should be carefully checked on its suitability to the needs of maintenance procedures. Usually card files are used for equipment records. Printed on a suitable format they allow for convenient entries of data and retrieval for future reference. Codes applied for easy reference are another essential part of a recording system. There is no use in a time-consuming preparation of a card file of equipment recording without simultaneously introducing a simple method of identifying the card quickly in the file whenever needed. Cards with perforations on the card edges, termed ‘needle cards’, are probably the most efficient way of solving this problem. They are widely used in storage registration systems and can be also recommended for equipment recording. The technique is described below.
An example of a machine record card is given in Fig. 1. As can be seen the record comprises three distinctly different parts. The first gives the identity of the machine and its origin and the second contains information relevant to maintenance procedures and operations. In both parts the information is derived from the manufacturer's literature except for the inventory number which is arbitrarily assigned by the plant. The third part, which is simply the space on the reverse, contains entries made by the plant engineer, and concerns major changes and repairs which the machine has undergone during its life. It is the “health record book” of the machine.
Milk processing or milk products manufacture requires machines and installations by the use of which the raw material is transformed into a product. Each and every piece of equipment of which the plant is assembled must perform its duty. Achieving the exact performance objectives of the plant as a whole requires maximizing the efficiency of all equipment. The term “efficiency” is used in this context as a comparison between the designed and the actual performance. Should, for instance, the set holding temperature in a pasteurization plant be 72°C (±1°C), the efficiency of the process is determined by checking whether, in the course of pasteurization of the product, any deviation from the wanted temperature levels occurs. In other words determining the efficiency requires collecting data concerning the actual performances and comparing them with those expected.
Any equipment is subjected to wear and tear and its efficiency and performance decrease with time. Keeping the plant performance at the required level is the responsibility of the dairy engineer and his staff. To fulfil this responsibility he needs to know what the actual performance is. By detecting a drop in performance he can take corrective action. But his first duty is to prevent any drop in efficiency by taking care of the equipment in a rational way or in other words by servicing the machine. This servicing procedure will be structured according to the needs of the plant but it will always be based on:
inspection of performance based on log book entries
scheduled inspection combined with scheduled servicing at selected points considered crucial for plant efficiency
scheduled inspection of all other sections of the plant aiming at detection of faults not detectable by other routine procedures.
The practice of plant performance inspection and servicing of machines should be carried out with sufficient simplicity and thoroughness to yield the best results. The creation of a routine system in this respect is the first step in establishing good habits of proper care of all items of equipment.
It is essential to determine what should be inspected, how often and how to leave out of the procedure any collection of information which does not serve the main purpose. On the other hand the system must be beared toward prompt discovery of each and every deviation from normal in the plant or in the machine operation and also toward immediate action aiming at corrections at the detected sources of the deviation.
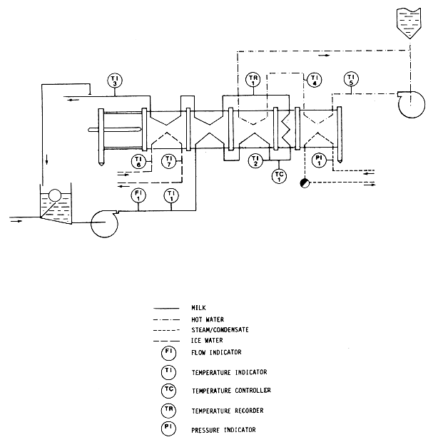
Log books contain the record of the equipment performance and usually also instructions to and from the operator. They are basically designed to keep records of the daily processing runs and their recording elements are often replaced - at least partly by automatic recording charts.
The log books are usually kept by the operators of various sections of the plant. Some or even most of them, may not belong to the engineering group but to the processing group. This should not prevent the engineering staff from inspecting the entries and from drawing conclusions from the figures and remarks recorded. In some cases it may be an advantage to include in the log book recorded observations which are particularly useful for engineering work even when the recorded are basically meant for the processing manager's inspection. Such cooperation between the departments of the plant is essential in many areas. Inspection based on log book entries permits discovery of performance faults occuring during processing and manufacturing operations of the plant. In other words such inspection is based on actual daily performance records. It is a good practice to attach to the log book a simplified sectional flow diagram of the process concerned with all check spots clearly shown and marked in the same order as they are on the recording pages. Examples of a sectional flow diagram and a corresponding performance record are shown in Figs. 2 and 3. As can be seen in the example of the performance record there is an instance of an unusually high milk outlet temperature. Simultaneously a high outlet temperature of the ice water was recorded. Inlet temperatures of milk and ice water were at the normal level. This deviation from normal will be noticed by the inspecting engineer (if not called earlier by the operator) and will make him analyse the trouble and identify the cause. The indication is that the flow of ice water was reduced either within the heat exchanger or in the ice water line. An immediate check on the ice water installation performance record should enable the engineer to locate the trouble either in the heat exchanger (choking, leakage) or in the ice water supply (pump defect, high pressure drop in the pipe, leakage). Corrective actions should follow immediately.
It is obvious that any instrument used to measure the actual value of a parameter of a process needs to be frequently checked so as to ensure that the readings illustrate the true value of the recorded item.
Inspection of log books provides the engineer with invaluable information on the actual performance of the plant, but it cannot indicate whether the equipment is in sufficiently good condition for high performance in the immediate future. Such conclusions require another type of inspection based on different considerations.
Inspection-cum-servicing schedules are the most crucial task for the engineering team responsible for preventive maintenance. There are three sources of know-how on which these schedules are based and they may be listed as follows:
Manufacturers' manuals
Equipment records
Plant experience.
There is one special category of equipment to which special inspection, servicing and maintenance criteria are applicable and to which strict adherence to special regulations is imposed by law. These include fire protection and safety equipment (fire extinguishers, vacuum and pressure safety valves, emergency relief equipment, emergency alarm devices, etc.). In many countries this type of equipment is periodically inspected by the representatives of official institutions and their recommendations need to be followed strictly and precisely for legal reasons. The manufacturers' manual is an invaluable guide on how to install, how to service, what, and how often to inspect, what and when to replace. The equipment record contains the most essential data deriving from the manufacturers' manual, but it also contains a record of the machine's history during its use in the plant. The records show the age of the machine, major repairs it has undergone and subsequent notifications. By looking at the record the engineer is able to analyse the machine's condition, its ability to continue performing safely and to introduce changes in inspection and servicing schedules concerning any particular piece of equipment.
The experience gathered in the plant by the operators and the engineering staff can be an additional but very valuable source of information on which the inspection and servicing schedules can be designed. Even the most common machines in a milk plant are subjected in each plant to different working conditions. These conditions vary for many reasons arising from differences in climate to the difference in operators' ability to handle machines. All this cannot be foreseen by the manufacturer and his manuals will refer to normal operating conditions only. Unavoidable deviations from what the manufacturer considered as normal conditions are known only to the staff of the plant and their experience should be carefully gathered and considered when drawing up a maintenance schedule.
| DESCRIPTION | (NAME OF PLANT) | MODEL | CAPACITY | SERIAL NO. | INVENTORY NO. |
| NAMES ADDRESSES TELEPHONES TELEXES CONTACTS CONTRACTS | |||||
| MANUFACTURER | SERVICE CONTRACT COMPANIES | ||||
| DRRAWING No. | SPARE PARTS SHEET No. | SERVICING MANUAL No. | |||
| LAYOUT DRAWING No. | MAINTEANCE INSPECTION SECHEDULE No. | LUBRICATION SCHEDULE No. | |||
| STATUTORY INSEPECTIONES | |||||
| GOVERNMENT | INSURANCE | OTHERS | |||
| ORDER No. | RECEIVED (DATE) | INSTALLED (DATE) | COMMISSIONED (DATE) | COST | |
| DETAILS RELEVANT TO MAINTENANCE PROCEDURES | |||||
| MECHANICAL | ELECTRICAL | GENERAL | |||
| DRIVES | MOTERS | SPECIAL TOOLS | |||
| GEARS | |||||
| BELTS/CHAINS | |||||
| BEARINGS | OTHER APPLIANCES | LUBRICANTS | |||
| RECORD ON THE REVERSE ALL CHANGES, ADDITIONS, MODIFICATIONS, MAJOR REPAIRS & OTHER RELEVANT INFORMATION | |||||
FIG. 1 EQUIPMENT RECORD CARD (EXAMPLE)

FIG. 2 FLOW DIAGRAM OF PASTEURIZATION PLANT AS LOG BOOK RECORDING GUIDE (EXAMPLE)
| ASTEURIZATION PLANT No. | |||||||||||||||||||||||||||||
| DATE | OPERATOR - SHIFT HOURS | OPERATION | TIME | VALUES SET FOR THE DAY | OPERATOR'S RECORDS ON ABNORMALITIES AND DEMANDS ON ASSISTANCE | ENGINEER'S RECORDS ON WORK CARRIED OUT. ESSENTIAL FINDINGS RECOMMENDATIONS | SUPERVISOR'S REMARKS | ||||||||||||||||||||||
|---|---|---|---|---|---|---|---|---|---|---|---|---|---|---|---|---|---|---|---|---|---|---|---|---|---|---|---|---|---|
| 28.2.1983 | W.SMITH 14.00 - 22.0 R. JAMES 07.00-15.00 | FI1 | TI1 | TI2 | TR1 | TI3 | TI4 | TI5 | TI6 | TI7 | PI1 | MILK OUTLET TEMPERATURE INCREASE FROM 13.00 HOURS ENGINEER ON DUTY NOTIFIED AT 14.00 HOURS | ICE WATER PUMP FAILURE FOUND - REPAIRED AT 19.00 HOURS | ||||||||||||||||
| 10 | 4 | 72 | 72 | 4 | 78 | 74 | 1 | 3 | 0.1 | ||||||||||||||||||||
| VALUES RECORDED | |||||||||||||||||||||||||||||
| FI1 | TI1 | TI2 | TR1 | TI3 | TI4 | TI5 | TI6 | TI7 | PI1 | ||||||||||||||||||||
| HEATING UP | 7.15 | 11 | 73 | 73 | 75 | 74 | 0.10 | ||||||||||||||||||||||
| 8.30 | |||||||||||||||||||||||||||||
| STERILIZATION | 8.30 | 10 | 85 | 90 | 93 | 90 | 0.10 | ||||||||||||||||||||||
| 8.50 | |||||||||||||||||||||||||||||
| PROCESSING START | 8.50 | 10 | 4 | 72 | 72 | 4 | 78 | 74 | 1 | 3 | 0.11 | ||||||||||||||||||
| PROCESSING | 9.00 | 10 | 4 | 72 | 73 | 4 | 78 | 74 | 1 | 3 | 0.11 | ||||||||||||||||||
| " | 10.00 | 10 | 4 | 72 | 73 | 4 | 78 | 74 | 1 | 3 | 0.11 | ||||||||||||||||||
| " | 11.00 | 10 | 4 | 72 | 72 | 4 | 78 | 74 | 1 | 3 | 0.11 | ||||||||||||||||||
| " | 12.00 | 10 | 4 | 72 | 72 | 4 | 78 | 73 | 1 | 3 | 0.11 | ||||||||||||||||||
| " | 13.00 | 10 | 5 | 72 | 72 | 8 | 78 | 74 | 1 | 6 | 0.11 | ||||||||||||||||||
| " | 14.00 | 10 | 5 | 72 | 72 | 12 | 78 | 74 | 1 | 8 | 0.10 | ||||||||||||||||||
| FLUSHING | 14.30 | 10 | 14 | 76 | 76 | 78 | 75 | 0.10 | |||||||||||||||||||||
| 15.00 | |||||||||||||||||||||||||||||
| PROCESSING START | 15.10 | 10 | 5 | 72 | 72 | 12 | 79 | 75 | 1 | 8 | 0.12 | ||||||||||||||||||
| PROCESSING | 16.00 | 10 | 5 | 72 | 73 | 12 | 79 | 75 | 1 | 8 | 0.10 | ||||||||||||||||||
| " | 17.00 | 10 | 5 | 72 | 72 | 12 | 78 | 74 | 1 | 8 | 0.10 | ||||||||||||||||||
| " | 18.00 | 10 | 5 | 72 | 72 | 12 | 78 | 74 | 1 | 8 | 0.10 | ||||||||||||||||||
| CLEANING | 18.15 | 11 | 14 | 70 | - | - | 75 | 72 | - | - | 0.10 | ||||||||||||||||||
| PLANT STOPPED | 19.15 | - | - | - | - | - | - | - | - | - | - | ||||||||||||||||||
FIG.3 EXAMPLE OF A LOG BOOK PAGE WITH RECORDED ENTIRES
The third group of inspection schedules concerns parts of the plant assets which are not covered by the foregoing two groups and is also based mainly on experience. These schedules cover inspection of civil structures, ducts and pipelines between distant section or buildings, underground structures and mains, water storage tanks, wells, and many other parts of the plant not described in manufacturers' manuals. In this group the inspection of the sanitation of the whole plant is also included which contains anything from painting to insect and rodent control. Neatness and orderliness are important, both inside and outside the plant.
All inspection schedules must contain information concerning what to inspect, when and how often. This information needs to be recorded either on overall charts on which equipment is listed in a selected order and the necessary functions of the inspections and servicing, including servicing instructions, are specified, or on individual cards for each section of a machine. An inspection schedules card file is widely considered as advantageous, prticularly in larger scale plants. An example of an individual inspection schedule card is given in Fig. 4.
This contains three parts. The first part gives the name and the identification data of the machine, but its basic component is the check list of items to be inspected. The inspection items are grouped according to the inspection frequency into five sections, A to E. The list should ensure uniform and complete inspection regardless of who does the job. The second part of the inspection card is the confirmation of routine work carried out: the third, on the reverse, is a record of non-routine observations and works.
An essential feature of the maintenance inspection schedule cards is the system which ensures that they are pulled out from the file at scheduled periods and that they are distributed to the persons instructed to do the inspection. As already mentioned, coding on perforated edges of the cards is one of the simplest and most convenient to use. The example in Fig. 4 shows and inspection schedule card with perforations on the top edge only. The right hand top corner of each card is cut off to make sure that when placing cards in the file box they will all face the same side of the box. In the example there are 35 holes on the top edge of the card. Perforations for coding purposes could continue along all four edges of the card. The perforations in the example are used for coding the inspection dates and frequencies, the type of the scheduled inspection and the group of machines inspected. The legend of the coding applied is as follows:
| Days of the week | |
| 1 | Monday |
| 2 | Tuesday |
| 3 | Wednesday |
| 4 | Thursday |
| 5 | Friday |
| 6 | Saturday |
| 7 | Sunday |
| Decades of the month | |
| 8 | First |
| 9 | Second |
| 10 | Third |
| Months of the year | |
| 11 | January |
| 12 | February |
| 13 | March |
| 14 | April |
| 15 | May |
| 16 | June |
| 17 | July |
| 18 | August |
| 20 | October |
| 19 | September |
| 21 | November |
| 22 | December |
| Type of inspection | |
| 23 | General performance |
| 24 | Mechanical |
| 25 | Electrical |
| 26 | Lubrication |
| 27 | Civil and auxiliary |
| 28 | Fire protection and work safety |
| Plant Department | |
| 29 | Processing |
| 30 | Steam raising |
| 31 | Refrigeration |
| 32 | Water supply and distribution |
| 33 | Compressed air and air conditioning |
| 34 | Buildings and other civil engineering structures |
| 35 | Miscellaneous |
| DESCRIPTION (NAME) OF MACHINE | MODEL | CAPACITY | SERIAL NO. | INVENTORY NO. | ||||||||||||||||||||||
|---|---|---|---|---|---|---|---|---|---|---|---|---|---|---|---|---|---|---|---|---|---|---|---|---|---|---|
| CHECK LIST ON INSPECTIONS AND ROUTINE SERVICING | ||||||||||||||||||||||||||
| GROUP A - EVERY WEEK | 10 | 19 | ||||||||||||||||||||||||
| 1 | 11 | GROUP E - ONCE A YEAR | ||||||||||||||||||||||||
| 2 | GROUP C - EVERY 3 MONTHS | 20 | ||||||||||||||||||||||||
| 3 | 12 | 21 | ||||||||||||||||||||||||
| 4 | 13 | 22 | ||||||||||||||||||||||||
| 5 | GROUP D - EVERY 6 MONTHS | 23 | ||||||||||||||||||||||||
| 6 | 14 | 24 | ||||||||||||||||||||||||
| GROUP B - EVERY MONTH | 15 | 25 | ||||||||||||||||||||||||
| 7 | 16 | 26 | ||||||||||||||||||||||||
| 8 | 17 | 27 | ||||||||||||||||||||||||
| 9 | 18 | 28 | ||||||||||||||||||||||||
| REPORT ON ROUTINE MAINTENANCE INSPECTION AND SERVICING WORKS | ||||||||||||||||||||||||||
| LAST ANNUAL INSPECTION CARRIED OUT ON | ||||||||||||||||||||||||||
| MONTH | JANUARY | FEBRUARY | MARCH | APRIL | MAY | JUNE | ||||||||||||||||||||
| WEEK | 1 | 2 | 3 | 4 | 5 | 6 | 7 | 8 | 9 | 10 | 11 | 12 | 13 | 14 | 15 | 16 | 17 | 18 | 19 | 20 | 21 | 22 | 23 | 24 | 25 | 26 |
| GROUP | A | A | AB | A | A | A | AB | AB | A | A | A | ABC | A | A | ||||||||||||
| CODE | ||||||||||||||||||||||||||
| INTIAL | SC | SC | SC | SC | SC | SC | SC | SC | SC | SC | SC | SC | SC | SC | ||||||||||||
| MONTH | JULY | AUGUST | SEPTEMBER | OCTOBER | NOVEMBER | DECEMBER | ||||||||||||||||||||
| WEEK | 27 | 28 | 29 | 30 | 31 | 32 | 33 | 34 | 35 | 36 | 37 | 38 | 39 | 40 | 41 | 42 | 43 | 44 | 45 | 46 | 47 | 48 | 49 | 50 | 51 | 52 |
| GROUP | ||||||||||||||||||||||||||
| CODE | ||||||||||||||||||||||||||
| INITIAL | ||||||||||||||||||||||||||
| RECORD ON THE REVERSE ALL NON-ROUTINE OBSERVATION AND DETAILS OF NON-ROUTINE WORKS CARRIED OUT | ||||||||||||||||||||||||||
FIG. 4 MAINTENANCE INSPECTION SCHEDULE CARD (EXAMPLE)
By cutting out the space between the perforation and the edge, the card receives a code. Pushing a thin rod or needle through a selected perforation in a pack of cards and lifting the cards on the rod will result in separating all cards coded on this particular perforation (cards not lifted) from those not coded (lifted on the rod). The code specification chosen in the example concerns a maintenance schedule card system in which several (up to six) cards are used for one inspection subject. The check list on each card contains only works referring to one out of the possible six types of inspection works marked on holes 23 to 28. The philosphy of the coding system may be best illustrated by analysing the example in Fig. 4. The cut-outs on Nos 31 and 24 indicate that the card concerns the refrigeration plant or a component part and refers to mechanical maintenance inspection. Cut-outs Nos 11 to 22 indicate that there are items requiring monthly inspection. The cut-out No 9 shows that the monthly inspection for this machine is scheduled for the second decade of each month. The cut-out in No, 3 position shows that weekly inspections are performed on wednesdays.
The codding system presented above is simple and helps in the organization of the work, provided it is systematically applied. Every day of the week, cards marked with that day's code should be sorted out from the total by lifting on the rod all those not carrying that code. The next step is putting the rod through holess 23 to 28 - one by one - and distributing the work according to the indications on the cards to mechanics, electricians, lubricators, etc.
The cards - if kept in transparent plastic envelopes - can be handed out for easy reference to the inspecting crews, but all entries except initialling should be done by the officer to whom the workmen report after completing the job, otherwise the cards would not last long. It should be noticed that the selection or the day of the week on which the weekly inspection is done as well as the selection of the decade for monthly inspections are the result of work planning. The preventive maintenance staff inspect the equipment and do the routine servicing by going from one group of the machines to another throughout the day and the week, spending as much time on a job as required but basically changing their place of work and returning to it after a specified time. Only operators spend all their time on performaing the same job every day.
Cards for monthly inspections are selected on the first, eleventh and twenty-first day of the month concerned. After selecting all cards relating to a given month, those sorted out concern the current decade. The work is then distributed in the same way as for weekly inspections.
In the recording part of the card - in the group code register - symbols A, B, C, and D are recorded depending on the type of work done, as illustrated in Fig 4. It is the duty of the officer-in-charge to see that the C and D works are done according to the schedule by analusing the recordings in the past periods. The same applies to the annual inspection by checking the date of the last one recorded at the top of the recording table.
On cards of machines not requiring weekly inspections none of the first seven perforations will have the space between the edge of the card cut out. Similarly, when there are no monthly inspections, the perforations 11 to 22 will be coded only for three monthly or semi-annual inspections.
One of the important advantages of the card-file system is the fact that the order in which the cards are put back into the file box is immaterial since the uncoded cards will be pulled out by the rod irrespective of the location of the card in the file.
Special attention should be given to electric prime movers ane other electrical appliances attached to the machine when considering the preventive maintenance recording system. It often happens that electirc motors are moved from one piece of equipment to another. If the motor data is kept on the equipment card, this could lead in such cases to misinformation. Therefore it is advisable to keep motor data on a separate card attached to the main equipment card, removable and exchangeable whenever required.
These are an integral part of preventive maintenance schedules. Most machines have some elements requiring lubrication, such as gears, bearings, cylinders, chains, etc. Lubrication reduces wear in the lubricated elements. Correct lubrication practices can reduce the overall machine maintenance costs by as much as 20 percent although the costs of lubricants may represent as much as 10 percent of the maintenance costs of a plant. The term lubrication includes lubrication oiling and greasing and the indication on costs svings given above covers all three. Lubrication is such an essential part of the dairy engineer's activities that in larger scale plants one staff member is employed only to take care of this activity, selecting lubricants, teaching mechanics and operators and supervising their work in this respect.
Selection of proper lubricants is a very important and difficult task. It is usually done by first recording the recommendations given in manufactirers' manuals for each machine and its cimponents. Next comes the analysis of the recommended list with a view to reducing the variety to a minimum. At this stage and expert opinion from an oil supplying company might be of help and is strongly recommended. Lubrication and selection of proper lubricants are highly specialized fields. Seldom has the dairy plant engineer the opportunity to acquire the necessary background in this field. Calling in a qualified lubrication expert should not be restricted to requests for help in selecting the list of lubricants. He should also be involved in training lubrication personnel in the fundamentals of the work, methods of lubrication, utilization of lubrication tols, methods of marking lubrication points, methods of purification of lubricants and in applying criteria for re-using purigied lubricants. In many instances there are good reasons for establishing a separate card file for lubrication schedules. Designing a lubrication programme requires deciding who is going to do the actual lubrication work. In some plants this work is done by the mcahine operators, in others by specially trained lubrication staff. In the first case proper supervision has to be introduced, particularly in order ot train people in keeping the oil clean and in detecting reasons for quick deterioration of oil quality in gearboxes or other lubricated devices. Finally training is needed in application of properly selected lubricants and in proper marking and recording of lubrication jobs performed.
In plants where a lubricator is employed and lubrication schedule cards are used, the routine steps of the lubricator as as follows:
The spare parts programme is a particularly intricate task for a dairy engineer in a plant in a developing country. In most cases the plants were designed abroad and almost all equipment imported. The supplying companies seldom had sufficient information, not only on the local technical resources form which some parts of the plant could be procured, but even on the legal standards of the recipient countru. In many of the developing countries more than one milk plant had been imported and very often each of them purchased from a different supplier, from a different country, sometiems even from a different continent. As a result there is often practically no standardization of equipment in milk plants in developing countries, except where the complete plant has been installed on a turn key basis. Moreover, even such simple items as bolts, screws and nuts used on a machine imported from the USA differ from the ones used by companies from the European continent, which in turn differ from those purchased in the UK. This variety applies to also to stainless steel pipes and fittings used in milk ducts, where at least five or six standards are in use. In some developing countries they are all represented in one milk plant.
With the absence of standardization, with difficulties in acquiring import licences for spare parts and in communication with the suppliers and absence of local specialized servicing agents, the continuous operation of a milk plant and its good performance will depend heavily on the spare parts stock available in the plant for immediate use. It is the dairy engineer's duty to decide on what spares and supplies to keep, on how much should be kept, on how to store and how to register.
The engineering stores should contain consumable items such as gaskets, standard lubricants and paints and three basic groups of engineering accessories:
The total number of items stored often amounts to thousands, of which a negligible part or sometimes even the majority may be imported. The selection of spare parts kept in the store is based on the manufacturers' recommendations and on the plants own experience of local operating conditions. In many plants there are several machines of the same type, capacity and make. This must be considered when deciding on the spare parts store, since, although the number of items stored will not be reduced, the quantity of each item may. Moreover such situations may make it convenient and economic to keep in the store complete components as spares, such as pumps for bottle and can washers, milk pumps, gears for tank agitators, electric motors, etc. Such components kept in the store could serve as emergency replacements for a number of machines or functions. The quantities to be kept should ensure regular and trouble-free plant performance without overstocking the stores.
In the spare parts lists there are items which are on relatively steady demand such as rubber gaskets for milk pipes, plate gaskets for heat exchangers, graphite and rubber sealings for pumps, electric relays and special bulbs, selected bearings, springs and automatic switches, etc. Also some consumable items may be listed in this group, such as automatic recorder charts and inks, special lubrication components and even packaging materials to which packaging machines are particularly sensitive, such as aluminium capping foils for bottling. It is relatively easy to establish a list of items and of required quantities contained in this group.
It is much more difficult to decide on items which are used sporadically. The demand for them is erratic and only experience can tell what deserves to be stored in the plant. This could involve parts of machines which theoretically last for the lifetime of the machine, such as shafts carrying spray discs in milk driers, plates in heat exchangers and pressure and temperature indicators. There are instances when they need quick replacement and should be available in the store.
On the other hand large spare parts stores absorb a considerable portion of the capital and may adversely affect the economic situation of the plant. Finding a correct balance between these two aspects of the problem may be facilitated by considering whether local supplies could replace costly and time consuming imports, whether there are components which could be locally reconditioned by removing worn-out parts and replacing them with parts which are locally made or even fabricated in the plant's own workshop. It may be of advantage to the milk plant to make or to purchase tools for spare parts fabrication and to use them when required. This may be illustrated by an example. The local rubber parts manufacturing company may have the skills and facilities to produce rubber parts of required quality, but it may not be interested in undertaking such jobs for the milk plant because of high tool manufacturing costs and of low demand.
The rubber moulding tools are the key to the solution of the problem. Making them or paying for their manufacture and keeping for the next order may seem to be an expensive venture, but it may be the safest and cheapest solution in the long run. However, at least one original sample of each spare part should always be kept in the store under special care so that a critical comparison between the original and locally made items is possible and corrections of the latter feasible. Certain spare parts will always have to be imported due to lack of know-how, to the need for special materials, or to high manufacturing costs. A careful survey of the stock position of the relevant items, of their condition on the machines and of their anticipated life should be made with sufficient frequency so as to ensure that ample time is given for the procurement of spare parts before the last pieces are used. It is a well known fact that procurement of spare parts takes often more time than the procurement of a new machine. Sometimes it may take a year or even more to replenish the stocks. Lowest quantity limits on particularly crucial items kept in the store need to be defined in order to avoid the risk of running out of stock before new supplies arrive.
The registration system of spare parts is an essential component of a good preventive maintenance programme. Needle cards may also be of use here.
The preparatory part of the PMP as well as the plan of action presented in the foregoing leads to the correct performance of the physical maintenance of the whole plant and each of its components. As it has been shown, the inspection schedules - including lubrication - are the guidelines for routine servicing of the machines and in this respect the plan of operation includes an essential part of maintenance: routine servicing during scheduled inspections. However, any routine activity implies action during normal situations in which no deviation from normal has been spotted. But daily review of the inspection records will certainly also reveal that in some of the machines the performance does not meet expectations. In such instances remedial action needs to be taken before the performance decreases further since there is likelihood of reduced output, serious damage to the machine or the situation may develop to a stage at which it becomes hazardous to personnel.
The examination of the situation will lead to findings upon which the decision will be taken on further action. Such examinations must be done by members of the engineering staff who are best qualified in the field in which the trouble occurred or by the person actually on duty. The degree of seriousness and the urgency for a solution will influence the way in which the problem is analysed and decision taken. The most dramatic conclusion would be taking the machine out of service because of the hazards in its further operation. This seldom happens and when it does it is most often limited to particularly sensitive machines such as milk centrifuges and refrigeration compressors, of which standby items are usually included in the plant design from the very beginning of the plant's operation.
In the majority of instances the decision-making engineer must consider whether:
The decision is followed by work orders. Should the work be carried out by the plant's own crews, the maintenance craftsman or foreman receives a work order which gives details of the work to be done. Usually it will refer to a particular maintenance schedule and will be given together with requisition documents to the stores for issuing materials and spare parts required for carrying out the job. Only in very urgent instances should the craftsmen work to verbal instructions, although discussions on how best to perform the job are of great value to the quality of the work and to the overall working atmosphere in the engineering group. After the completion of the job a Job Report should be submitted in which confirmation of completion is given, and the time and materials used are recorded and recommendations for any further action are specified.
The Job Reports are one of the main sources for preparing accounts of the actual costs of machinery maintenance. They may be prepared either within the engineering department of the plant, by the accounts department or in cooperation between both, depending on the organizational system of the factory management. Independent of the organization structure of the plant, it is the dairy engineer's duty to keep his own records on maintenance costs, to review them frequently and to draw conclusions on ways and means by which all necessary expenses on plant maintenance are made.
In spite of all the efforts in taking care of the machines, equipment and other assets of the plants, the time will come when overhauling becomes unavoidable. Damage caused by faulty operations, maladjustments and misuse of machines can be minimized under proper management, but deterioration caused by wear and tear of moving parts, by corrosion or by entry of foreign materials between moving parts cannot.
Overhauling machines at planned regular intervals is a means to avoid sudden breakdowns. The intervals between planned overhauling of each and every part of the plant's equipment can usually be found in the technical documentation of the plant, including manufacturers' manuals. Here again the plant's own experience may be of even greater value in establishing overhauling schedules of machines. Such schedules are based on the anticipation of breakdowns after a given number of hours of the machine's operation. Most often the planned intervals become shorter when the machine advances in age and in wear and tear. However, a planned schedule cannot be the only indication with respect to the need of major repairs of a machine. During the preventive maintenance inspections the readings of the instruments together with other observations can also indicate the danger of immediate breakdowns. Well trained staff will make it clear in their inspection reporting, but it is for the supervisory staff to spot such dangers in their routine analysis of the reports and to take appropriate actions. It is a good habit to spend 30 minutes each day and to have the written reports of the machinery inspection staff supported by verbal descriptions of the observations. In the long run it will always result in real time saving and also in a better diagnosis of the actual condition of all parts of the entire plant.
The time available in a milk plant for overhauling works is usually limited and in well-managed plants the engineering group aims at the reliance on its own resources of which the maintenance workshop is the most essential. The reasons for such an approach become drastically evident when assistance is sought from outside facilities in case of emergency.
Before planning the accommodation and equipment needed for maintenance the external resources available such as spare parts stocklists within the country and the existence of specialist firms which can undertake engineering fabrication, building maintenance or vehicle servicing, should be surveyed and evaluated. If the milk plant is situated in an existing urban community it is likely that builders, motor vehicle agents and probably refrigeration engineers will already be established as these services are needed by so many other enterprises. However comprehensive these outside resources appear to be, it is still essential for the milk plant to include its own maintenance section to operate a preventive maintenance scheme and to cope with emergencies.
Although most of the work of inspection and maintenance of the equipment, both service and process, will be carried out in-situ, a base workshop and record office are necessary even in small plants. In large plants this may extend to several workshops each devoted to a particular branch of engineering service work. For example if the plant has to maintain its own vehicles because outside facilities are inadequate, a special workshop suited to this particular requirement may be needed.
In small milk plants a single general-purpose workshop should be adequate and this might be sited adjacent to the process area with direct access outside, possibly associated with the refrigeration compressor room, the records office and the spare parts stores. In large plants where more than one workshop may be appropriate a separate building may be needed, possibly in conjunction with the boilerhouse or garage.
The workshop should be supplied with the main services including compressed air and should be equipped with benches and a full complement of hand tools appropriate to the various engineering trades, together with special tools required for dismantling specific items of equipment. The latter is especially important in vehicle maintenance. Where repair work or the manufacture of special items of equipment is contemplated, electric and gas welding equipment must be included and, perhaps, basic machine tools, such as lathe, pillar drill and metal working machines.